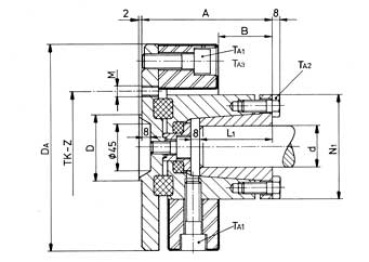
Flansch: 1,0 A: 125 B: 51 Da: 200 Z: 4 x 90° D: 63,5 Ø-Prop. Welle: mind. 25 /max. 50 L1: 70 N1: 100 Ta1 + Ta3: 220Nm Ta2: 79Nm Gewicht: 10,6kg Bitte bei Bestellung folgende Angaben machen: Typ, Lochkreis und Zentrierranddurchmesser Ihres Getriebes.
zzgl. Versand
Leider sind noch keine Bewertungen vorhanden. Seien Sie der Erste, der das Produkt bewertet.
Sie müssen angemeldet sein um eine Bewertung abgeben zu können. Anmelden
{{.}}
{{{.}}}