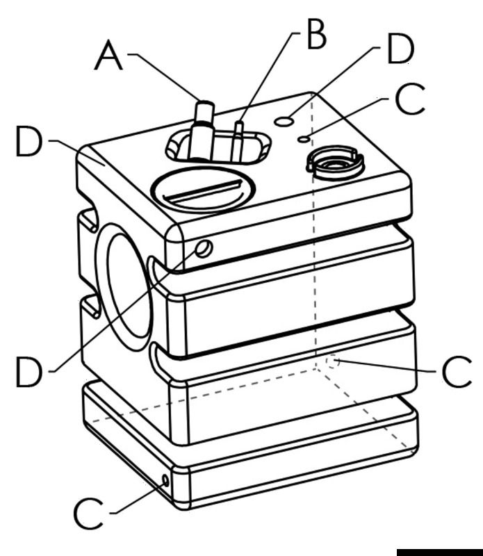
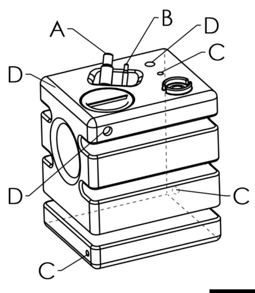
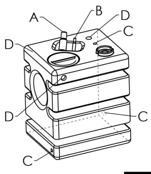
Lebensmittelechtes, lineares Polyethylen.
Komplett mit Inspektionskappe und mehreren Anschlüssen für Einlauf, Auslauf und Entlüftung mit 1"1/4, 3/4" und 1" Innengewinde.
Eine Füllstandsanzeige mit VDO 5-Loch-Flansch (27.160.xx; 27.161.xx; 27.166.xx) kann installiert werden.
Technische Daten: