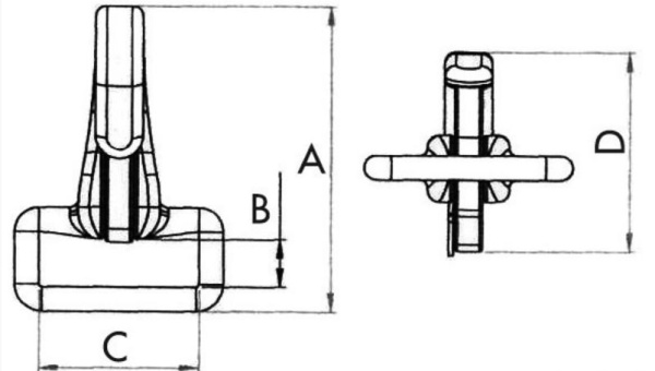
Mit Schnapper aus Edelstahl. A: 54,3 mm B: 8,5 mm D: 35,5 mm Für 25 mm starke Riemen. C: 25 mm
zzgl. Versand
Leider sind noch keine Bewertungen vorhanden. Seien Sie der Erste, der das Produkt bewertet.
Sie müssen angemeldet sein um eine Bewertung abgeben zu können. Anmelden
{{.}}
{{{.}}}